ПЕРЕДНЯЯ ОСЬ, КОЛЕСА, ШИНЫ
Автомобили КАМАЗ различных моделей
и комплектаций
имеют передние оси, колеса и шины разли
чающиеся: применяемыми колесами и шинами;
дисковыми или бездисковыми колесами; типами
тормозных камер и тормозных механизмов; наличием
или отсутствием игольчатых подшипников в
шкворневом узле; материалом балки; наличием литого
суппорта; материалом накладок тормозных колодок;
подшипниками ступицы колес. Особенности
наиболее применяемых подвесок даны в таблице 39.
Таблица 39
| Автомобили | Модели | Колеса | Шины | Мосты, оси |
| Полноприводные (односкатная ошиновка) | КАМАЗ-43101
КАМАЗ-43114 КАМАЗ-43118 КАМАЗ-4326 |
310-533 | Кама 1260-156F Кама 1260-146J | Ведущие мосты (см. раздел) |
| Полноприводные (двухскатная ошиновка) | КАМАЗ-53228
КАМАЗ-65111 КАМАЗ-6426 |
178-508(7,0-20) | 10.00R20(280R508) | Ведущие мосты (см. раздел) |
| Неполноприводные | КАМАЗ-53215
КАМАЗ-54115 КАМАЗ-55111 |
Ось передняя с тормозами 53215-3000012 | ||
| КАМАЗ-53229 КАМАЗ-65115 | Ось передняя с тормозами 65115-3000012 |
Передняя ось в сборе со ступицами,
колесами,
тормозными механизмами и тягой рулевой трапеции
показаны на рис. 211.
Рис. 211. Передняя ось:
1 - колесо с шиной в сборе; 2 - прижим колеса; 3, 16 - гайки; 4 - шпилька; 5, 15 - болты; 6 - гайка подшипников; 7, 8 - шайбы, гайки и контргайки замковые; 9 - крышка ступицы; 10 - контргайка; 11, 14 - подшипники; 12 - прокладка; 13 - ступица; 17 - барабан тормозной; 18 - кольцо упорное; 19 - кольцо манжеты; 20- крышка кулака; 21- упор поворотного кулака; 22 - рычаг поворотного кулака; 23 - тяга продольная рулевая; 24 - клин шкворня; 25 - подшипник опорный; 26 - кулак левый поворотный; 27 - рычаг поворотного кулака поперечной тяги; 28 - шкворень; 29 - втулка шкворня; 30 - тяга поперечная рулевая трапеции; 31 - манжета; 32 - механизм тормозной в сборе; 33 - балка переднего моста
Балка передней оси с поворотными кулаками, рычагами рулевой трапеции в сборе показана на рис. 212.
Рис. 212. Передняя ось и поворотные кулаки:
1 - болт; 2, 30 - шайбы пружинные; 3 - крышка нижняя поворотного кулака; 4 - прокладка крышки; 5 - втулка шкворня; 6 - кулак левый поворотный переднего моста; 7, 27, 29 - гайки; 8 - шплинт разводной; 9 - масленка; 10 - шкворень; 11 - клапан предохранительный; 12 - крышка верхняя поворотного кулака; 13 - кольцо уплотнительное; 14 - обойма сальника; 15 - шайба кулака; 16 - шайба регулировочная; 17 - полукольцо сальника; 18 - кольцо опорного подшипника; 19 - штифт; 20 - шайба опорного подшипника; 21 - кулак правый поворотный; 22 - сегментная шпонка; 23 - рычаг правый поворотного кулака к тяге рулевой трапеции; 24 - балка переднего моста; 25 - рычаг поворотного кулака к тяге сошки рулевого механизма; 26 - упор поворотного кулака; 28 - рычаг левый поворотного кулака к тяге рулевой трапеции; 31 - клин шкворня
Передняя ось в сборе со ступицами, тормозными механизмами и тягой рулевой трапеции для модернизированных автомобилей КамАЗ показан на рис. 213.
Рис. 213. Передняя ось модернизированных автомобилей
Конструкция ступицы с тормозным барабаном
обеспечивает установку на автомобили дисковых
колес с креплением по типу ISO. В шкворневых
узлах передней оси запрессованы игольчатые
подшипники,
которые перед установкой смазываются
смазкой Литол-24. Между подшипниками устанавливается
полиамидная втулка. Введено уплотнение
шкворневого узла лепестковыми резиновыми
манжетами.
Передняя ось (см. рис. 212) неразрезная, с поворотными
кулаками вилочного типа и цилиндри
ческими шкворнями. В отверстия кулаков 6
и 21
под поршень 10 запрессованы втулки 5 шкворней,
выполняющие роль подшипников скольжения. От
осевого перемещения шкворень 10 зафиксирован
клином 31 и гайкой 29 с шайбой 30. Шкворень
установлен вверх торцом с прорезью.
Отверстия в
кулаках после установки шкворня закрывают крышками
3 и 12 с прокладками 4 для защиты подшипников
от грязи и пыли. Верхняя крышка в
отличае от
нижней имеет предохранительный клапан 11 для
выхода смазки. Между нижними торцами
проушины
балки 24 и кулаками установлены опорные подшипники,
состоящие из опорного кольца 18 и шайбы
20. Шайбы зафиксированы от проворачивания
штифтами 19 в расточках на поворотных кулаках.
Между верхними торцами
проушин балки и кулаками
установлены шайбы 15 и 16 толщиной 1,5 мм и
0,25 мм, с помощью которых регулируют
осевой
зазор в шкворневом соединении.
Подшипники скольжения и опорные подшипники смазывают через масленки 9.
Верхний 25 и нижние 23 и 28 рычаги закреплены в кулаках гайками 7 со шплинтами 8. Рычаги от проворачивания в кулаках зафиксированы сегментными шпонками 22. Углы поворота кулаков ограничены упорами 26, ввернутыми во фланцы поворотных кулаков и зафиксированными гайками 27. Упоры при максимальном повороте колес упираются в бобышки на балке оси.
На цапфах кулаков (см. рис. 211) гайкой
6, контргайкой
10 и замковыми шайбами 7
и 8 закреплены
ступицы 13 колес.
На ступице имеются пять спиц, равномерно
распо
ложенных по окружности. Концы спиц закан-
чиваются коническими опорами, предназначенными
для посадки конической поверхности обода.
Угол
конуса 28° обеспечивает при затяжке
гаек 3 с моментом
245... 294 Н.м (25... 30 кгс.м) силу трения,
необходимую для надежного
соединения обода со
ступицей и предохранение обода от поворота при
торможении. В теле ступицы между
спицами имеются
пять отверстий, предназначенных для болтов
15 крепления тормозного барабана 17. Гайки 16
болтов самоконтрящиеся.
Для уменьшения износа шин и улучшения устой чивости и управляемости автомобиля ступица в сборе с тормозным барабаном балансируется.
Ступица вращается на двух конических роликовых
подшипниках 11 и 14. На внутренней и
внешней обоймах подшипников имеется маркировка,
которая должна в точности совпадать для
обеих обойм. Внутренняя
обойма подшипника 14
упирается в упорное кольцо 18.
Подшипниковая сборочная единица снаружи защищена от пыли и грязи крышкой 9 с прокладкой 12, с обратной стороны — манжетой 31, установленной в расточке ступицы, рабочие кромки манжеты опираются на кольцо 19.
Тормозные механизмы 32 передних колес смонтированы
на суппортах, которые крепятся болтами к
фланцам поворотных кулаков.
Рулевая трапеция
передней оси включает поперечную тягу 30, шаровые
пальцы которой коническими хвостовиками
плотно входят в конические отверстия рычагов и
закреплены гайками со шплинтами.
Аналогично
крепится продольная рулевая тяга 23 к рычагу
поворотного
кулака и к тяге сошки рулевого механизма.
Поперечный угол наклона шкворня и угол развала
колес обеспечиваются при изготовлении деталей
переднего моста. Эти углы не регулируются.
Продольный
угол наклона шкворня определяется положением
переднего моста, относительно рессоры —
обеспечивается кронштейнами амортизатора.
Колеса (рис. 214)
Рис. 214. Колесо с балансировочными грузами:
1 - обод колеса; 2 - кольцо замочное; 3 - кольцо бортовое; 4 - груз балансировочный в сборе; 5 - шина; 6 - камера; 7 - лента ободная; 8 - заклепка; 9 - груз балансировочный; 10 - пружина
— бездисковые, трехкомпонентные.
Съемное бортовое кольцо 3 удерживается
на ободе
замочным разрезным кольцом 2,
установленным в
канавке обода 1. По внутреннему диаметру,
под канавкой
для замочного кольца, обод имеет коническую
поверхность для центровки колеса при установке
на
ступицу. Передние колеса закреплены
на спицах ступиц
пятью прижимами на шпильках с гайками.
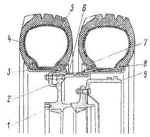
Колеса задние (рис. 215)
Рис. 215. Заднее колесо с тормозным барабаном в сборе:
1 - ступица; 2 - прижим заднего колеса; 3 - обод; 4 - шина; 5 - камера; 6 - кольцо проставочное; 7-кольцо бортовое; 8 - кольцо замочное; 9 - барабан тормозной
сдвоенные. Обод 3 заднего
внутреннего колеса установлен на конической
поверхности спиц задней ступицы 1.
Расстояние
между шинами сдвоенных колес обеспечено проставо
чным распорным кольцом 6, которое для увеличения
жесткости гофрировано. Проставочное кольцо
передает также на внутреннее
колесо усилие затяжки
гаек и прижимов, крепящих наружное колесо.
Наружное колесо установлено на конических поверхностях
прижимов 2 крепления колес, поэтому
прижимы задних колес отличаются от передних. Для
предотвращения проворачивания колес на спицах, в
случае ослабления затяжки, каждый
обод имеет по
два выштампованных ограничителя-упора.
Для модернизированных автомобилей
Колеса — дисковые, размер
178-508(7,0-20), с
трехкомпонентным ободом, с креплением по типу
ISO 4107-79(см. рис. 216).
Рис. 216. Колесо дисковое
Съемное бортовое кольцо удерживается
на ободе замоч-
ным разрезным кольцом, размещенным в канавке обода.
Колеса задние сдвоенные(см. рис. 217),
Рис. 217. Колеса дисковые сдвоенные
монтируются на ступицу по центральному отверстию в дисках колес и закрепляются 10 гайками с шайбами.
Для доступа к вентилю внутренних колес применен удлинитель вентиля, закрепленный на кронштейне.
Шины — радиальные, пневматические, 12-слойные.
Колеса в сборе с шинами подвергаются перед
установкой на автомобиль балансировке.
Балансировка
производится грузами 4 (см. рис. 214),
устанавливаемыми на бортовое кольцо.
Вес балансирово
чного груза 0,179 кг. Количество балансирово
чных грузов не более пяти на колесо.
Смотрите также
Разборка, контроль, ремонт и сборка главного и рабочего цилиндра
Главный цилиндр. Снимите бачок 1 (рис. 3-8) с корпуса главного цилиндра 4.
Для этого
необходимо разомкнуть хомутик 2. Затем, снимите защитный чехол 5 вместе с
толкателем и стопорное
кольцо 7. Эт ...
Топливный бак
Снятие и установка. Для снятия топливного бака 1 (рис. 2-76) отсоедините
массовый провод от
аккумуляторной батареи.
Рис. 2-76. Снятие топливного бака:
1 – топливный бак;
2 – топливопровод;
3 ...
Шатунно-поршневая группа - Выпрессовка поршневого пальца
ОБЩИЕ СВЕДЕНИЯ
Снимать палец необходимо на прессе с помощью оправки и опоры с цилиндрической
выемкой, в которую укладывается поршень. Перед выпрессовкой пальца снять
поршневые кольца.
Если с ...