Сборка и установкаChevrolet Niva / Рулевое управление / Сборка и установка
Порядок сборки кронштейна маятникового рычага обратный разборке. Подшипники 4
рекомендуется
заменять новыми.
Закрепив кронштейн на лонжероне болтами с самоконтрящимися гайками и плоскими
шайбами,
затяните их динамометрическим ключом.
Соедините шаровые пальцы тяг с маятниковым рычагом.
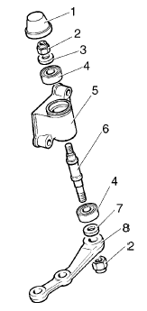
Рис. 5-6. Детали маятникового рычага с кронштейном:
1 – колпак кронштейна;
2 – самоконтрящаяся гайка;
3 – верхняя шайба;
4 – подшипник;
5 – кронштейн;
6 – ось маятникового рычага;
7 – кольцо дистанционное;
8 – маятниковый рычаг.
Смотрите также
Система зажигания двигателя мод. 2106 - Проверка микропереключателя
ОБЩИЕ СВЕДЕНИЯ
Микропереключатель проверяется на автомобиле.
Проверка
ПОРЯДОК ВЫПОЛНЕНИЯ
1. На режиме холостого хода снять с вывода микропереключателя штекер, связанный
с фиолетовым проводом. ...
Установка поршня первого цилиндра в положение ВМТ такта сжатия
ОБЩИЕ СВЕДЕНИЯ
Предупреждение
Проворачивайте коленчатый вал только за болт крепления к нему шкива
(запрещается проворачивать коленчатый вал за шкив распределительного вала).
Рекомендация ...
Проверка эффективности работы вакуумного усилителя
ОБЩИЕ СВЕДЕНИЯ
Расположение вакуумного усилителя (запасное колесо снято):
1 – вакуумный усилитель
2 – главный тормозной цилиндр
3 – вакуумный шланг
4 – обратный клапан
Вам потребуются
отверт ...