РЕМОНТ
При ремонте в зависимости от неисправности
демонтируйте ведущий мост в сборе или только
главную передачу. Редуктор разберите
на следующие
сборочные единицы, предварительно слив масло из
мостов и межосевого дифференциала в чистую посуду
(для дальнейшего его использования):
— ведущей конической шестерни;
— межколесного дифференциала. Помните, что
крышки подшипников межколесного дифференциала
невзаимозаменяемы, поскольку они обработаны
совместно с картером редуктора;
— ведомой конической шестерни;
— межосевого дифференциала, в случае разборки
редуктора промежуточного моста.
При разборке обязательно
проверяйте люфты в
указанных выше сборочных
единицах, поскольку
сборка должна быть с обеспечением
обязательного
предварительного натяга конических подшипников.
После полной разборки детали редуктора
промойте
и проверьте.
При осмотре деталей проверьте:
— зубья и расположение пятна контакта
на рабо-
чих поверхностях зубьев;
при обнаружении недопустимого
износа или повреждения (выкрашивания
зубьев) детали замените новыми. При неправильном
зацеплении зубьев найдите причину
и устраните ее.
В запасные части ведущая и ведомая конические
шестерни поставляются комплектом, подобранным
по шуму и пятну контакта, поэтому
при повреждении
одной из них заменяйте обе шестерни;
— зубья и пятна контакта на рабочих поверхностях
зубьев цилиндрических шестерен;
при обнаружении
недопустимого износа или повреждения
(выкрашивания) зубьев детали замените
новыми;
— состояние поверхности шипов крестовин,
сателлитов
и отверстий сателлитов (межосевого и
межколесного дифференциалов). При незначительных
повреждениях отполируйте поверхности
мелкозернистой шлифовальной шкуркой,
а при серьезных
повреждениях детали замените новыми.
Аналогичным образом проверяйте
состояние поверхностей
шеек и торцов шестерен полуосей, шестерен
привода заднего и промежуточного мостов, межосевого
дифференциала и их посадочных поверхностей в
чашках дифференциалов;
— состояние поверхностей опорных шайб
сателлитов,
шестерен полуосей и шестерен привода заднего
и промежуточного мостов; при
обнаружении
незначительных повреждений устраните
их, при
необходимости детали замените новыми;
— осмотрите все подшипники, они должны быть
без износа, с гладкими рабочими поверхностями.
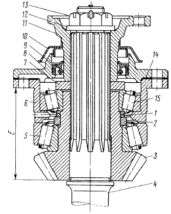
Для разборки главной передачи заднего моста выверните самоконтрящиеся болты крепления стопоров гаек подшипников дифференциала заднего моста и снимите стопоры 44 (рис. 186).
Рис. 186. Главная передача заднего моста:
1-картер главной передачи; 2 - пробка заливная; 3 - шестерня ведомая коническая; 4 - шпонка; 5 - шестерня ведущая цилиндрическая; 6, 9, 16, 34, 36 - подшипники роликовые конические; 7, 32 - стаканы подшипников: 8 - крышка подшипника; 10, 19, 24, 47 - шайбы опорные; 11, 49 - гайки; 12, 35 - шайбы регулировочные; 13, 33 - прокладки регулировочные; 14, 31, 39 - прокладки; 15 - гайка регулировочная; 17 - чашка дифференциала; 18 - сателлит; 20 - крестовина; 21 - шестерня полуосевая; 22 - болт крепления чашек дифференциала; 23 - шестерня цилиндрическая ведомая; 25 - втулка сателлита; 26, 40 - подшипники роликовые цилиндрические; 27 - фланец; 28 - отражатель; 29 - манжета; 30 - крышка; 37 - шестерня ведущая коническая; 38 - вал ведущий; 41 - крышка; 42, 48 - шайбы; 43 - крышка подшипника дифференциала; 44 - стопор; 45 - болт крепления крышки подшипника дифференциала; 46 - втулка распорная
Отогните стопорные пластины болтов крепления крышек подшипников дифференциала и выверните болты 45.
Снимите крышки подшипников 43, регулировочные
гайки 15 подшипников дифференциала
и выньте
дифференциал заднего моста.
Расшплинтуйте
и отверните
гайку 49 крепления фланца заднего моста и
снимите фланец 27. Выверните болты крепления
крышки стакана подшипников ведущей конической
шестерни, снимите крышку 30
и опорную шайбу 47.
Выверните болты крепления крышки и
снимите
крышку 41. Выпрессуйте ведущий вал 38 в сборе с
ведущей конической шестерней. Выверните
болты
крепления крышки и снимите крышку 8. Расстопорите
и отверните гайку 11 и снимите
опорную шайбу
10. Выньте стакан подшипников 7 в сборе с подшипником
9 и наружной обоймой подшипника 6.
Снимите
регулировочные шайбы 12 и выньте
сборочную
единицу ведомой конической шестерни.
Для разборки дифференциала заднего моста спрессуйте внутренние кольца конических роликоподшипников 16 с чашкой 17 дифференциала. Для этого захваты 1 съемника (рис. 187)
Рис. 187. Снятие внутреннего кольца подшипника дифференциала:
1 - захват; 2 - наконечник; 3, 5 - винты; 4 - траверса
заведите
за
внутреннее кольцо подшипника и зафиксируйте
винтами 3. Упираясь наконечником 2 в торец чашки
дифференциала, ввертывайте
винт 5 в траверсу 4 до
полного снятия внутреннего кольца подшипника.
Отверните самоконтрящиеся гайки крепления чашек дифференциала, выньте болты 22 (см. рис.
186), рассоедините чашки 17 дифференциала,
выньте
ведомую цилиндрическую шестерню 23,
полуосевые
шестерни 21, снимите опорные шайбы 19, 24,
снимите сателлиты 18 с крестовины 20.
Для разборки ведущей конической шестерни снимите стакан 6 (рис. 188)
Рис. 188. Ведущая коническая шестерня главной передачи заднего моста:
1 - шайба регулировочная; 2 - втулка распорная; 3 - шестерня ведущая коническая; 4 - вал ведущий; 5, 15 - подшипники роликовые конические: 6 - стакан; 7 - шайба опорная; 8 - крышка стакана; 9 - манжета; 10 - отражатель; 11 - фланец ведущей шестерни; 12 - шайба; 13 - гайка: 14 - прокладка
с подшипником 15, регулирово
чные шайбы 1 и распорную втулку 2.
Выпрессуйте
ведущий вал 4 заднего моста, спрессуйте
съемником
внутреннее кольцо конического роликоподшипника
5. Для снятия установите кромки клиньев
8 (рис. 189)
Рис. 189. Снятие внутреннего кольца подшипника ведущей конической шестерни
заднего и промежуточного мостов, внутреннего кольца ведущей и ведомой конических
шестерен:
1 - захват; 2 - наконечник; 3, 5, 6 - винты; 4,7 - траверсы; 8 - клин; 9 - стойка
между внутренним кольцом подшипника
и шестерней и, ввернув винт 6 в траверсу
7, стяните
их. Заведите захваты 1 за клинья 8
и зафиксируйте их
в этом положении винтами 3.
Упирая наконечник 2
в торец шестерни и вворачивая винт 3 в траверсу 4,
снимите кольцо.
Для разборки ведомой конической шестерни спрессуйте ведомую коническую шестерню 3 (см. рис.
186) вместе с цилиндрическим роликоподшипником
26. Выньте шпонку 4. Спрессуйте
съемником внутреннее
кольцо конического роликоподшипника 6
аналогично снятию внутреннего кольца подшипника
ведущей конической шестерни (см. рис. 189).
Разборка главной передачи промежуточного моста.
Выверните болты крепления межосевого дифференциала
и снимите межосевой дифференциал. Выверните
самоконтрящиеся болты крепления стакана
подшипников ведущей конической шестерни.
Расшплинтуйте
и отверните гайку 38 (рис. 190),
Рис. 190. Главная передача промежуточного моста:
1 - шестерня ведомая коническая; 2 - картер главной передачи; 3 - шестерня ведущая цилиндрическая; 4, 44 - шайбы регулировочные; 5, 29 - прокладки регулировочные; 6 - стакан; 7, 33 - прокладки; 8 - крышка; 9, 15, 19 - шайбы опорные; 10 - гайка подшипника; 11, 12, 14, 42, 45 - подшипники роликовые конические; 13 - гайка регулировочная; 16 - сателлит; 17 - втулка сателлита; 18 - шестерня полуосевая; 20 - крестовина; 21 - чашка дифференциала; 22 - болт крепления чашек дифференциала; 23 - шестерня ведомая цилиндрическая; 24 - подшипник роликовый цилиндрический; 25, 26 - пробки заливные; 27 - картер межосевого дифференциала; 28 - стакан; 30 - шестерня ведущая коническая; 31 - вал задний; 32 - подшипник шариковый; 34 - крышка; 35 - манжета; 36 - отражатель; 37 - фланец; 38 - гайка; 39 - шайба; 40 - крышка подшипника дифференциала; 41 - стопор; 43 - втулка распорная
снимите шайбу 39 и снимите фланец 37. Выверните
болты
крепления крышки и снимите крышку 34. Выньте
задний вал 31 в сборе с подшипником 32.
Разборка сборочных единиц ведомой конической шестерни и дифференциала промежуточного моста аналоги чна разборке их у главной передачи заднего моста.
Для разборки межосевого дифференциала (рис. 191)
Рис. 191. Межосевой дифференциал:
1 - гайка; 2 - шайба; 3 - фланец; 4 - манжета; 5 - болт; 6 - картер межосевого дифференциала; 7, 10 - шайбы опорные; 8 - чашка передняя; 9 - сателлит с бронзовой втулкой; 11 - прокладки уплотнительные регулировочные; 12 - датчик блокировки; 13 - винт установочный; 14 - пробка заливная; 15, 27 - прокладка; 16 - механизм блокировки; 17 - вилка муфты; 18 - кольцо стопорное; 19 - муфта зубчатая; 20 - муфта блокировки; 21 - пробка сливная; 22 - шестерня привода промежуточного моста; 23 - чашка задняя; 24 - крестовина; 25 - шестерня привода заднего моста; 26 - болт самоконтрящийся крепления чашек дифференциала; 28 - подшипник; 29 - крышка подшипника
выверните заливную пробку 14,
отверните контргайку
и выверните установочный винт 13. Вывер-
ните болты крепления механизма блокировки
и
выньте механизм блокировки 16.
Выньте
вилку 17
механизма блокировки вместе
с муфтой блокировки
20. Раскерните и отверните гайку 1, снимите опорную
шайбу 2 и выньте фланец 3 межосевого дифференциала.
Выверните болты 5, снимите крышку 29 и выпрессуйте чашки межосевого дифференциала в сборе. Снимите стопорное кольцо 18, муфту 19.
Выверните самоконтрящиеся болты 26, рассоедините
переднюю и заднюю чашки 8
и 23. Снимите
шестерни 22 и 25 привода промежуточного и заднего
мостов, опорные шайбы 7 и 10, сателлиты 9 межосевого
дифференциала с крестовины 24.
Разборка ведущей конической шестерни (рис.192).
Рис. 192. Ведущая коническая шестерня главной передачи промежуточного моста:
1 - шайба замковая; 2 - контргайка; 3 - шайба подшипника; 4 - гайка подшипника; 5 - штифт стопорный; 6, 10 - подшипники роликовые конические; 7 - стакан подшипников; 8 - шайбы регулирово чные; 9 - втулка распорная; 11 - шестерня ведущая коническая
Расстопорите и отверните гайку 2 специальным клю- чом, который служит переходником под рожковый ключ размером 46 мм (рис. 193),
Рис. 193. Специальный ключ для снятия гайки подшипников ведущего вала
конической шестерни промежуточного моста:
1 - ключ; 2 - гайка
снимите замковую
шайбу 1 (см. рис. 192), шайбу 3
подшипника. Отверните
гайку 4 подшипника в сборе со
стопорным
штифтом 5. Снимите стакан 7 в сборе с подшипником
6, регулировочные шайбы 8, распорную втулку 9.
Спрессуйте съемником внутреннее
кольцо конического
роликоподшипника 10 с ведущей конической
шестерни 11. Снятие производите аналогично снятию
внутреннего кольца подшипника с ведущей кони
ческой шестерни главной передачи заднего моста.
Для разборки главной передачи переднего моста
необходимо вывернуть болты крепления
стопоров
гаек подшипников дифференциала переднего моста
и снять стопоры. Отогнув
стопорные пластины 35
(см. рис. 185) крышки 1, отвернуть регулировочные
гайки 34 подшипников и вынуть дифференциал из
картера главной передачи переднего моста. Вывернуть
болты и снять крышку 27 с прокладкой стакана
подшипников ведущего цилиндрического колеса.
Раскернить и отвернуть гайку 29, снять опорную
шайбу 28. Вворачивая технологические болты М12Х
1,25Х50 (2 шт.), выпрессовать стакан 26 в
сборе с
подшипником 25 и наружной обоймой
подшипника
24. Вынуть узел ведущего цилиндрического зубчатого
колеса 23 из картера. Спрессовать съемником (см.
рис. 187) внутреннее кольцо конического
подшипника
24 (см. рис. 185), роликовый подшипник 22,
ведомое коническое колесо 21 и шпонку 9.
Разборка сборочньзх единиц ведущего конического
зубчатого колеса и дифференциала главной
передачи переднего моста производится
аналогично
разборке их у главной передачи заднего моста.
При установке и регулировании
подшипников и шестерен
редуктора конические роликовые
подшипники
вала ведущей конической шестерни установите
с предварительным
натягом. Крутящий момент, необходимый
для проворачивания вала ведущей шестерни в
подшипниках, должен быть 0,78... 1,57 Н.м (0,08... 0,16
кгс.м). Замерьте крутящий момент при непрерывном
вращении фланца в одну сторону не менее чем
после
пяти полных оборотов вала. Подшипники при этом
должны быть смазаны. При проверке момента вращения
ведущей шестерни заднего моста крышка стакана
подшипника должна быть сдвинута в сторону фланца
так, чтобы центрирующий выступ крышки вышел из
гнезда стакана подшипника, и сальник не оказывал бы
сопротивления вращению шестерни.
Регулируйте подшипники ведущей конической
шестерни подбором регулировочных шайб
из комплекта,
поставляемого в запчасти.
Шайбы устанавливайте в количестве двух штук
между внутренним кольцом переднего
подшипника и
распорной втулкой. После окончательной регулировки
подшипников гайку крепления
подшипников ведущей
шестерни заднего моста затяните (момент затяжки 235...
353 Н.м (24... 36 кгс.м) и зашплинтуйте.
У редуктора
промежуточного моста затяните гайку крепления подшипников
с моментом 235 Н.м (24 кгс.м), поставьте
шайбу подшипника и подтяните гайку до совмещения
отверстия шайбы подшипника со
стопорным штифтом
гайки. Затем поставьте замковую шайбу, совместив ее
выступ с одним из отверстий шайбы
подшипника, и
затяните контргайку с моментом 235... 353
Н.м (24... 36
кгс.м), край замочной шайбы
отогните на грань контргайки.
При затягивании гаек проворачивайте ведущую шестерню, чтобы ролики подшипников заняли правильное положение между коническими поверхностями.
После сборки ведущей шестерни замерьте размер Е (см. рис. 188, 192), поскольку он будет необходим при регулировке зацепления конических шестерен.
Ведущую и ведомую конические шестерни редуктора подбирают на заводе в комплекты по пятну контакта и боковому зазору в зацеплении, притирают и клеймят порядковым номером комплекта.
Кроме того, на заднем торце ведущей конической
шестерни наносится электрографом величина от
клонения (поправка в сотых долях мм)
от теорети
ческого установочного размера 81 мм (рис. 194).
Рис. 194. Нулевое положение и направление сдвига ведущей конической
шестерни
Знак «+» соответствует удалению ведущей шестерни от оси ведомой, знак « - » — приближению.
При работе автомобиля шестерни прирабатываются
одна к другой. Поэтому
при необходимости
замены шестерен заменяйте обе шестерни комплектно.
Вновь устанавливаемые конические шестерни должны иметь один порядковый номер комплекта.
При установке новых конических шестерен редуктора отрегулируйте их по пятну контакта и боковому зазору в зацеплении (табл. 33), который должен быть 0,20... 0,35 мм.
Таблица 33
РЕГУЛИРОВАНИЕ ЗАЦЕПЛЕНИЯ КОНИЧЕСКИХ
ШЕСТЕРЕН РЕДУКТОРА
| Положение пятна
контакта на зубьях ведомой шестерни |
Способ исправления | Направления
перемещения шестерен |
|
| передний ход | задний ход | ||
![]() |
|||
![]() |
Придвиньте ведомую
шестерню к ведущей. Если при этом получится малый боковой зазор в зацеплении, отодвиньте ведущую шестерню |
![]() |
|
![]() |
Отодвиньте ведомую
шестерню от ведущей. Если при этом получится большой боковой зазор в зацеплении, придвиньте ведущую шестерню |
![]() |
|
![]() |
Придвиньте ведущую
шестерню к ведомой. Если при этом боковой зазор будет мал, отодвиньте ведомую шестерню |
![]() |
|
![]() |
Отодвиньте ведущую
шестерню от ведомой. Если при этом боковой зазор в зацеплении будет велик, придвиньте ведомую шестерню |
![]() |
|
Пятно контакта на обеих сторонах зуба ведомой
конической шестерни должно иметь длину, равную
приблизительно 1/2... 2/3 длины зуба на стороне
переднего хода, 1/2... 3/4 длины зуба со стороны
заднего хода. Минимальная ширина пятна контакта
в средней части должна быть равна 1/2 активной
высоты зуба. Контакт должен быть расположен ближе
к внутренней части зуба, но
не должен выходить
на его кромку. Выход пятна
контакта на кромку
внешней (широкой) части также недопустим.
На
зубьях ведущей шестерни пятно контакта может
доходить до верхней кромки. Пятно контакта полу-
чают путем вращения ведущей шестерни в
обе стороны
при одновременном подтормаживании рукой
ведомой шестерни.
При установке новых конических шестерен в
редуктор определите толщину пакета регулировоч-
ных прокладок, устанавливаемых между фланцем
стакана подшипников ведущей конической шестерни
и картером редуктора.
Толщина пакета регулирово
чных прокладок определяется по формуле:
S = (81 ± поправка) + E - В,
где Е — действительный размер
от торца ведущей
шестерни до фланца стакана (см. рис. 188, 192);
В — действительный размер редуктора
от переднего
торца до оси ведомой конической шестерни
(см. рис. 186, 190).
Регулировочный пакет прокладок
наберите из
числа прокладок, указанных в табл. 34.
Таблица 34
ТОЛЩИНА РЕГУЛИРОВОЧНЫХ ПРОКЛАДОК
| Обозначение | Толщина, мм |
| 5320-2402100
5320-2402099 5320-2402098 5320-2402097 5320-2402096 |
0,05 0,1 0,2 0,5 1,0 |
Под фланцем стакана обязательно установите
прокладки толщиной 0,05 мм не менее 2 шт. и
толщиной 0,1 мм не менее 2 шт.
Остальные
подбирайте
по мере надобности. Тонкие прокладки
должны быть расположены по обеим сторонам набора
прокладок для получения герметичности
соединения.
Болты крепления стакана ведущей конической
шестерни промежуточного моста затяните
с моментом
98,1... 122,6 Н.м (10... 12,5 кгс.м), заднего
моста — с моментом 58,9... 88,3 Н.м (6... 9 кгс.м).
Окончательно установленная в картере ведущая шестерня должна вращаться плавно, без заеданий.
Вал ведущей цилиндрической шестерни вращается в одном роликовом и двух конических подшипниках, которые установлены с предварительным натягом.
Регулируйте подшипники подбором регулирово
чных шайб из комплекта,
поставляемого в зап-
части. Шайбы устанавливайте
в количестве двух
штук между внутренними
кольцами конических роликоподшипников.
Крутящий момент, необходимый для проворачпвания ведомой конической шестерни после регулирования, должен быть 0,98 ...
3,43 Н.м (0,1... 0,35 кгс.м). Замеряйте крутящий
момент при непрерывном вращении в
одну сторону
не менее чем после пяти полных оборотов вала.
Подшипники при этом должны быть смазаны.
Установку ведомой конической шестерни
производите
после установки ведущей конической шестерни.
Болты крепления крышек
и стакана, подшипников
ведущей конической шестерни при этом
полностью затяните.
Перед установкой сборочной единицы ведомой
конической шестерни снимите стакан с наружным
подшипником. Затем ведомую коническую шестерню
в сборе с ведущей цилиндрической шестерней
установите в картер редуктора и подожмите
стаканом
до положения, обеспечивающего беззазорное
зацепление конической пары шестерен.
В поджатом
состоянии замерьте размер F (см. рис.186, 190)
между картером и фланцем
стакана. После этого
определите толщину необходимого пакета регулирово
чных прокладок по формуле:
S = F + D,
где D = 0,317... 0,555 мм — толщина пакета
регулировочных прокладок, равная
осевому смешению
ведомой конической шестерни для компенсации
бокового зазора в зацеплении шестерен.
После
установки ведомой конической шестерни гайки
подшипников ведущей цилиндрической шестерни
затяните с моментом 343 ... 392 Н.м (35 ... 40 кгс.м),
а болты крепления крышки
и стакана с моментом
58,9... 88,3 Н.м (6... 9 кгс.м). После этого
проконтролируйте
боковой зазор в зубьях конической
пары, который должен быть 0,2... 0,35 мм.
Зазор
замеряйте индикатором, установленным
на широкой
части зуба, и не менее чем для трех зубьев
ведомой шестерни, расположенных
приблизительно
на равных углах по окружности.
Для установки межколесного дифференциала
соберите
его, совместив чашки по меткам комплекта.
Полуосевые шестерни и сателлиты перед установкой
в чашки дифференциала окунуть в моторное
масло. В собранном: дифференциале шестерни
должны
легко проворачиваться от руки, без заедания.
Момент затяжки самоконтрящихся гаек болтов крепления чашек дифференциала должен быть 137...157 Н.м (14... 16 кгс.м).
Установку собранного дифференциала в картер
редуктора производите после установки ведущей
и
ведомой конических шестерен и регулировки их
зацепления. После установки собранного дифференциала
в гнездах картера редуктора заверните от
руки регулировочные гайки до плотного прилегания
к подшипникам, после чего поставьте крышки подшипников
дифференциала.
Во избежание повреждения резьбы на картере,
крышках и гайках при установке крышек
следите за
совпадением резьбы на сопряженных деталях.
Болты вместе со стопорными пластинами крепления
крышек подшипников дифференциала затяните
с моментом 98,1... 117,7 Н.м (10... 12 кгс.м).
При
помощи регулировочных гаек установите венец ведомой
цилиндрической шестерни симметрично
относительно
венца ведущей шестерни. Пятно
контакта на
обеих сторонах зуба (вращение в
обе стороны) должно
соответствовать пятну,
изображенному на рис. 195.
Отрегулируйте предварительный
натяг подшипников
дифференциала, для чего последовательно
и равномерно
затягивайте обе регулировочные гайки до увели
чения расстояния А (см. рис. 186) между крышками
подшипников дифференциала на 0,1... 0,20 мм
(расстояние
замеряйте между площадками для
стопоров
гаек). В таком положении регулировочные гайки застопорите.
Болты крепления крышек подшипников дифференциала затяните с моментом 245... 314 Н.м (25... 32 кгс.м) и застопорите отгибанием шайб на одну из граней головок болтов и на крышку.
Рис. 195. Пятно контакта ведомой цилиндри ческой шестерни:
а - разность указанных размеров mах 10
При регулировании подшипников проверните
дифференциал несколько раз, чтобы ролики приняли
правильное положение между коническими поверхностями
колец. После сборки редуктора боковой
зазор в зубьях цилиндрической пары шестерен
должен быть 0,1... 0,5 мм. Гайки шпилек крепления
редуктора к картеру моста затяните
с моментом
157... 177 Н.м (16... 18 кгс.м). Порядок затяжки
гаек — «крест-накрест».
Для установки межосевого дифференциала
соберите
его, совместив номера на чашках. В собранном
дифференциале шестерни должны легко проворачиваться
от руки, без заедания. Момент затяжки
самоконтрящихся
болтов крепления чашек межосевого
дифференциала должен быть 53,9... 68,7
Н.м (5,5... 7
кгс.м). Перед установкой крышки в сборе с сальником
на вал межосевого дифференциала заложите
между рабочими кромками
сальника консистентную
смазку. Затяните болты крепления крышки
с моментом
35,3... 49,1 Н.м (3,6... 5 кгс.м), гайку крепления
фланца вала межосевого дифференциала затяните
с
моментом 245...294 Н.м (25...30 кгс.м) и закерните. В
собранном виде межосевой дифференциал
должен
проворачиваться без заедания.
Установите механизм блокировки межосевого дифференциала в собранном виде в картер межосевого дифференциала. Вверните установочный винт вилки и контргайку винта через заливное отверстие картера межосевого дифференциала.
При подаче воздуха под давлением 196 кПа (2 кгс/
см2) в камеру механизма блокировки межосевого
дифференциала вилка муфты включения блокировки
должна переместиться в крайнее положение до упора
в картер межосевого дифференциала.
При выпуске
воздуха из камеры вилка муфты должна возвращаться
до упора в корпус механизма блокирования.
После сборки и проверки установите картер
с
межосевым дифференциалом на картер редуктора
и
закрепите болтами, обеспечив момент затяжки
36,3...49,1 Н.м (3,6...5 кгс.м). Напрессуйте шарикоподшипник
на задний вал редуктора промежуточного
моста и вставьте его в картер редуктора, затем
закрепите крышку подшипника в сборе с сальником
болтами, обеспечив момент затяжки 35,3... 49,1 Н.м
(3,6... 5 кгс.м). Перед установкой крышки заложите
между рабочими кромками
сальника консистентную
смазку. Установите на задний вал фланец, шайбу
и
затяните гайку фланца с моментом 245... 294 Н.м
(25... 30 кгс.м), после чего зашплинтуйте
ее.
Регулирование механизма блокировки межколесного дифференциала (см. рис. 196)
Рис. 196. Механизм блокировки колесного дифференциала
проводите
в следующем
порядке:
— снимите главную передачу;
— снимите крышку механизма блокировки;
— выньте поршень со стержнем;
— установите муфту блокировки в
положение,
при котором расстояние от плоскости
А зубчатого
венца муфты до оси отверстия d= 338+0,215 мм в
картере моста составляет 168 мм;
— замерьте размер Б от поверхности
пальца вилки
до опорной плоскости фланца картера;
— соберите поршень со стержнем в размер
Б+7
мм, законтрите гайкой и установите в картер моста,
затяжку болтов крепления крышки
и диафрагмы
проводите равномерно, при этом усилие затяжки
должно обеспечивать герметичность, без чрезмерного
спрессования бортов диафрагмы;
— проверьте ход муфты блокировки при подаче
воздуха на диафрагму, который должен составлять 14 мм.
Смотрите также
Электрооборудование - При обслуживании «В»
ОБЩИЕ СВЕДЕНИЯ
При обслуживании «В» (через каждые 20 000 км пробега) необходимо выполнить
работы в объемах обслуживаний «А» и «Б» и кроме этого:
1. Проверить затяжку и при необходимости подтян ...
Фильтр тонкой очистки топлива
Фильтр тонкой очистки топлива
Фильтр тонкой очистки топлива имеет неразборную конструкцию и заменяется
через
каждые 15 тыс. км пробега.
При замене фильтра стрелка, нанесенная на его корпусе, ...
Стояночный тормоз - Замена троса привода стояночного тормоза
ОБЩИЕ СВЕДЕНИЯ
Рекомендации
Если снятый с автомобиля трос тяжело перемещается в оболочке, смажьте его,
залейте
трансмиссионное или моторное масло в оболочку до тех пор, пока оно не начнет
...








