Особенности устройстваChevrolet Niva / Электрооборудование / Особенности устройства
Генератор типа 9402.3701-01 переменного тока, трехфазный, со встроенным
выпрямительным
блоком и электронным регулятором напряжения, правого вращения (со стороны
привода).
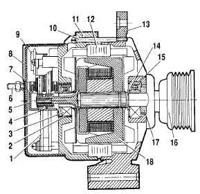
Рис. 7-5. Генератор 9402.3701-01:
1 – выпрямительный блок;
2 – втулка подшипника;
3 – задний подшипник вала ротора;
4 – контактные кольца;
5 – защитная втулка;
6 – вывод «В+» генератора;
7 – прокладка;
8 – кожух;
9 – регулятор напряжения со щеткодержателем;
10 – стяжной винт;
11 – задняя крышка;
12 – статор;
13 – передняя крышка;
14 – дистанционное кольцо;
15 – передний подшипник;
16 – шкив;
17 – шайба;
18 – ротор.
Статор 12 (рис. 7-5) и крышки 11 и 13 стянуты четырьмя винтами. Вал ротора 18
вращается в
подшипниках 3 и 15, которые установлены в крышках. Питание к обмотке ротора
(обмотке возбуждения)
подводится через щетки и контактные кольца 4.
Трехфазный переменный ток, индуцируемый в обмотке статора, преобразуется в
постоянный
выпрямительным блоком 1, прикрепленным к крышке 11. Электронный регулятор 9
напряжения объединен
в один блок со щеткодержателем и крепится также к крышке 11.
Схема соединений генератора показана на рис. 7-6. Напряжение для возбуждения
генератора при
включении зажигания подводится к выводу «D+» регулятора (вывод «D» генератора)
через контрольную
лампу, расположенную в комбинации приборов 3. После пуска двигателя обмотка
возбуждения питается от
трех дополнительных диодов, установленных на выпрямительном блоке генератора.
Вывод «W» генератора на автомобилях семейства Шевроле-Нива не используется.
Работа генератора контролируется контрольной лампой в комбинации приборов. При
включении
зажигания лампа должна гореть, а после пуска двигателя – гаснуть, если генератор
исправен. Яркое
горение лампы или свечение ее в полнакала говорит о неисправностях
Рис. 7-6. Схема соединений системы генератора:
1 – аккумуляторная батарея;
2 – генератор;
3 – контрольная лампа заряда аккумуляторной батареи, расположенная в комбинации
приборов;
4 – монтажный блок;
5 – выключатель зажигания.
Предупреждения!
«Минус» аккумуляторной батареи всегда должен соединяться с массой, а «плюс» –
подключаться к зажиму «B+» генератора. Ошибочное обратное включение батареи
немедленно
вызовет повышенный ток через выпрямительный блок генератора и.
Не допускается работа генератора с отсоединенной аккумуляторной батареей. Это
вызовет возникновение кратковременных перенапряжений на зажиме «В+» генератора,
которые
могут повредить регулятор напряжения генератора и электронные устройства в
бортовой
сети автомобиля.
Запрещается проверка работоспособности генератора «на искру» даже кратковременным соединением зажима «В+» генератора с массой. При этом через выпрямительный блок генератора протекает значительный ток и он может выйти из строя.
Проверять генератор можно только с помощью амперметра и вольтметра.
Выпрямительный блок генератора не допускается проверять напряжением более 12 В
или мегомметром, так как он имеет слишком высокое для диодов напряжение и они
при проверке
будут пробиты (произойдет короткое замыкание).
Запрещается проверка электропроводки автомобиля мегаомметром или лампой,
питаемой напряжением более 12 В. Если такая проверка необходима, то
предварительно
следует отсоединить провода от генератора.
Проверять сопротивление изоляции обмотки статора генератора повышенным
напряжением следует только на стенде и обязательно с отсоединенными от
выпрямительного
блока генератора выводами фазных обмоток.
При электросварке узлов и деталей кузова автомобиля следует отсоединять провода
от
всех клемм генератора и аккумуляторной батареи.
Смотрите также
Схема управления двигателями 2111 и 2112 (конт. М1.5.4N, «Январь-5.1»)
Схема соединений системы управления двигателями 2111 и 2112 с распределенным
впрыском топлива под нормы токсичности ЕВРО-2 (контроллеры М1.5.4N,
«Январь-5.1») автомобилей ВАЗ-21102, -21103
1 – ...
Система зажигания двигателя мод. 3313 - Проверка наличия высокого напряжения
в высоковольтных проводах
ОБЩИЕ СВЕДЕНИЯ
Предупреждение
Запрещается во избежании поражения электрическим током при проверке на “искру”
удерживать высоковольтный провод незащищенной рукой.
Проверка
ПОРЯДОК ВЫПОЛНЕНИЯ
...
Ремонт первичного вала
ОБЩИЕ СВЕДЕНИЯ
Первичный вал предстовляет собой блок ведущих шестерен, одна часть которых
выполнена на вале, а вторая – запрессована с большим натягом. Поэтому первичный
вал представляет собо ...