Контрольные проверки генератораChevrolet Niva / Электрооборудование / Контрольные проверки генератора
Проверка генератора на стенде
Проверка на стенде позволяет определить исправность генератора и соответствие
его
характеристик номинальным. У проверяемого генератора щетки должны быть хорошо
притерты к
контактным кольцам, а сами кольца чистыми.
Установите генератор на стенд и выполните соединения как показано на рис. 7-7.
Включите
электродвигатель стенда, реостатом 4 установите напряжение на выходе генератора
13 В и доведите
частоту вращения ротора до 6000 мин–1. Дайте генератору поработать на этом
режиме не менее 10 мин, а
затем замерьте силу тока отдачи. У исправного генератора она должна быть не
менее 80 А.
Рис. 7-7. Схема соединений для проверки генератора на стенде:
1 – контрольная лампа 12 В, 3 Вт;
2 – генератор;
3 – вольтметр;
4 – реостат;
5 – амперметр;
6 – выключатель;
7 – аккумуляторная батарея.
Если замеренная величина отдаваемого тока значительно меньше, то это говорит
о неисправностях
в обмотках статора и ротора или о повреждении выпрямительного блока генератора.
В этом случае
необходима тщательная проверка обмоток и выпрямительного блока генератора, чтобы
определить место
неисправности.
Напряжение на выходе генератора проверяется при частоте вращения ротора 5000 мин–1.
Реостатом 4 установите ток отдачи 15 А и замерьте напряжение на выходе генератора, которое должно быть 13,2–14,7 В при температуре окружающего воздуха и генератора (25±10)°С.
Если напряжение не укладывается в указанные пределы, то замените щеткодержатель
с
регулятором напряжения новым, заведомо исправным, и повторите проверку. Если
напряжение будет
нормальным, то, следовательно, старый регулятор напряжения поврежден, и его
необходимо заменить. А
если напряжение по-прежнему не будет укладываться в указанные выше пределы, то
необходимо
проверить обмотки и выпрямительный блок генератора.
Проверка генератора электронным осциллографом
Осциллограф позволяет по форме кривой выпрямленного напряжения точно и быстро
проверить
исправность генератора и определить характер повреждения.
Для проверки соберите схему согласно рис. 7-8. Отсоедините провод общего вывода
трех
дополнительных диодов от штекера «D+» регулятора напряжения и примите меры,
чтобы наконечник
отсоединенного провода не замкнулся с массой генератора. К штекеру «D+»
регулятора присоедините
провод от аккумуляторной батареи через выключатель 1. Таким образом, обмотка
возбуждения будет
питаться только от аккумуляторной батареи.
Рис. 7-8. Схема соединений для проверки генератора осциллографом:
1 – выключатель;
2 – генератор;
3 – вольтметр;
4 – реостат;
5 – амперметр;
6 – выключатель;
7 – аккумуляторная батарея.
Включите электродвигатель стенда и доведите частоту вращения ротора до 1500–2000 мин–1.
Выключателем 6 отключите аккумуляторную батарею от клеммы «B+» генератора и
реостатом 4 установите
ток отдачи 10 А.
Проверьте по осциллографу напряжение на клемме «B+» генератора. При исправных диодах и обмотке статора кривая выпрямленного напряжения имеет пилообразную форму с равномерными зубцами (рис. 7-9, I). Если имеется обрыв в обмотке статора либо обрыв или короткое замыкание в диодах выпрямительного блока – форма кривой резко меняется: нарушается равномерность зубцов и появляются глубокие впадины (рис. 7-9, II и III).
Рис. 7-9. Форма кривой выпрямленного напряжения генератора:
I – генератор исправен;
II – диод пробит;
III – обрыв в цепи диода (обмотке статора).
Проверив форму кривой напряжения на клемме «B+» генератора и убедившись, что
она имеет
нормальный вид, проверяют напряжение на штекере «D» генератора при отсоединенном
проводе от
штекера «D+» регулятора напряжения. Штекер «D» является общим выводом трех
дополнительных диодов
(см. рис. 7-6), питающих обмотку возбуждения при работе генератора. Форма кривой
напряжения здесь
также должна иметь правильную пилообразную форму. Неправильная форма кривой
свидетельствует о
повреждении дополнительных диодов.
Проверка обмотки возбуждения ротора
Обмотку возбуждения можно проверить не снимая генератор с автомобиля, сняв
только защитный
кожух и регулятор напряжения вместе с щеткодержателем. Зачистив при
необходимости шлифовальной
шкуркой контактные кольца, омметром или контрольной лампой проверяют, нет ли
обрыва в обмотке
возбуждения, и не замыкается ли она с массой.
Проверка статора
Статор проверяется отдельно, после снятия выпрямительного блока.
В первую очередь проверьте омметром или с помощью контрольной лампы и
аккумуляторной
батареи, нет ли обрывов в обмотке статора, и не замыкаются ли ее витки на массу.
Изоляция проводов обмотки должна быть без следов перегрева, который происходит
при коротком
замыкании в диодах выпрямительного блока. Статор с такой поврежденной обмоткой
замените.
Наконец, после разборки генератора необходимо проверить специальным
дефектоскопом нет ли в
обмотке статора короткозамкнутых витков.
Проверка диодов выпрямительного блока
Исправный диод пропускает ток только в одном направлении. Неисправный – может
либо вообще
не пропускать ток (обрыв цепи), или пропускать ток в обоих направлениях
(короткое замыкание).
В случае повреждения одного из диодов выпрямителя необходимо заменять целиком выпрямительный блок.
Короткое замыкание диодов выпрямительного блока можно проверить не снимая
генератор с
автомобиля, предварительно отсоединив провода от аккумуляторной батареи и
генератора и сняв кожух с
задней крышки генератора. Также отсоединяется провод от вывода «D+» регулятора
напряжения.
Проверить можно омметром или с помощью лампы (1–5 Вт, 12 В) и аккумуляторной
батареи, как показано
на рис. 7-10.
Рис. 7-10. Схемы для проверки диодов выпрямителя:
1 – аккумуляторная батарея;
2 – контрольная лампа;
3 – генератор;
I – проверка одновременно «положительных» и «отрицательных» диодов;
II – проверка «положительных» диодов;
III – проверка «отрицательных» диодов.
Примечание.
С целью упрощения крепления деталей выпрямителя три диода (с красной меткой) создают на корпусе «плюс» выпрямленного напряжения. Эти диоды «положительные» и они запрессованы в одну пластину выпрямительного блока, соединенную с выводом «B+» генератора. Другие три диода («отрицательные» с черной меткой) имеют на корпусе «минус» выпрямленного напряжения. Они запрессованы в другую пластину выпрямительного блока, соединенную с массой.
Сначала проверьте, нет ли замыкания одновременно в «положительных» и
«отрицательных»
диодах. Для этого «плюс» батареи через лампу подсоедините к зажиму «B+»
генератора, а «минус» к
корпусу генератора (рис. 7-10, I). Если лампа горит, то «отрицательные» и
«положительные» диоды имеют
короткое замыкание.
Для проверки короткого замыкания в «положительных» диодах «плюс» батареи через
лампу
соедините с зажимом «B+» генератора, а «минус» - с одним из фазных выводов
обмотки статора (рис. 7-
10, II). Горение лампы укажет на короткое замыкание одного или нескольких
«положительных» диодов.
Короткое замыкание «отрицательных» диодов можно проверить, соединив «плюс»
батареи через
лампу с одним из фазных выводов обмотки статора, а «минус» с корпусом генератора
(рис. 7-10, III).
Горение лампы означает короткое замыкание в одном или нескольких «отрицательных»
диодах. Следует
помнить, что в этом случае горение лампы может быть и следствием замыкания
витков обмотки статора на
корпус генератора. Однако такая неисправность встречается значительно реже, чем
короткое замыкание
диодов.
Обрыв в диодах без разборки генератора можно обнаружить либо осциллографом, либо
при
проверке генератора на стенде по значительному снижению (на 20–30%) величины
отдаваемого тока по
сравнению с номинальным. Если обмотки, дополнительные диоды и регулятор
напряжения генератора
исправны, а в диодах нет короткого замыкания, то причиной уменьшения отдаваемого
тока является обрыв
в диодах.
Проверка дополнительных диодов
Короткое замыкание дополнительных диодов можно проверить без снятия и разборки
генератора по
схеме, приведенной на рис. 7-11. Также как и для проверки диодов выпрямительного
блока, при этом
необходимо отсоединить провода от аккумуляторной батареи и генератора, снять
защитный кожух
генератора и отсоединить провод от вывода «D+» регулятора напряжения.
Рис. 7-11. Схема для проверки дополнительных диодов:
1 – генератор;
2 – контрольная лампа;
3 – аккумуляторная батарея
«Плюс» батареи через лампу (1–3 Вт, 12 В) присоедините к выводу «D» генератора, а «минус» к одному из фазных выводов обмотки статора.
Если лампа загорится, то в каком-то из дополнительных диодов имеется короткое
замыкание. Найти
поврежденный диод можно только сняв выпрямительный блок и проверяя каждый диод в
отдельности.
Обрыв в дополнительных диодах можно обнаружить осциллографом по искажению кривой
напряжения на штекере «D», а также по низкому напряжению (ниже 14 В) на штекере
«D» при средней
частоте вращения ротора генератора.
Проверка регулятора напряжения
Работа регулятора напряжения заключается в непрерывном и автоматическом
изменении силы тока
возбуждения генератора таким образом, чтобы напряжение генератора поддерживалось
в заданных
пределах при изменении частоты вращения и тока нагрузки генератора.
Проверка на автомобиле. Для проверки необходимо иметь вольтметр постоянного тока
со шкалой
до 15–30 В класса точности не хуже 1,0.
После 15 мин работы двигателя на средних оборотах при включенных фарах замерьте
напряжение
между клеммой «В+» и массой генератора. Напряжение должно находится в пределах
13,2–14,7 В.
В том случае, если наблюдается систематический недозаряд или перезаряд
аккумуляторной
батареи и регулируемое напряжение не укладывается в указанные пределы, регулятор
напряжения
необходимо заменить.
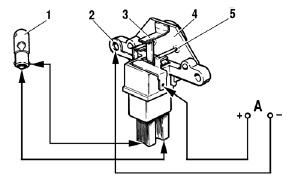
Проверка снятого регулятора. Регулятор в сборе с щеткодержателем, снятый с
генератора,
проверяется по схеме, приведенной на рис. 7-12.
Рис. 7-12. Схема для проверки регулятора напряжения:
1 – контрольная лампа; 2 – вывод «масса» регулятора напряжения; 3 – вывод «DF» регулятора напряжения; 4 – регулятор напряжения; 5 – вывод «D+» регулятора напряжения; А – к источнику питания.
Между щетками включите лампу 1–3 Вт, 12 В. К выводам «D+» и «масса» регулятора присоедините источник питания сначала напряжением 12 В, а затем напряжением 15-16 В.
Если регулятор исправен, то в первом случае лампа должна гореть, а во втором – гаснуть.
Если лампа горит в обоих случаях, то в регуляторе пробой, а если не горит в
обоих случаях, то или
в регуляторе имеется обрыв, или нет контакта между щетками и выводами регулятора
напряжения.
Последнее можно проверить, присоединяя провода от лампы не к щеткам, а непосредственно к выводам «D+» и «DF» регулятора напряжения.
Проверка конденсатора
Конденсатор служит для защиты электронного оборудования автомобиля и снижения
помех
радиоприему.
Повреждение конденсатора или ослабление его крепления на генераторе (ухудшение
контакта с
массой) обнаруживается по увеличению помех радиоприему при работающем двигателе.
Ориентировочно исправность конденсатора можно проверить мегомметром или тестером
(на шкале
1–10 МОм). Если в конденсаторе нет обрыва, то в момент присоединения щупов
прибора к выводам
конденсатора стрелка должна отклониться в сторону уменьшения сопротивления, а
затем постепенно
вернуться обратно.
Емкость конденсатора, замеренная специальным прибором, должна быть 2,2 мкФ±20%.
Смотрите также
Особенности ремонта двигателя ВАЗ-2112 - Головка блока цилиндров -
Особенности устройства
ОБЩИЕ СВЕДЕНИЯ
Головка блока цилиндров общая для четырех цилиндров, отлита из алюминиевого
сплава, с камерами сгорания шатровой формы. Впускные и выпускные каналы
выведены на разные стороны го ...
Схема контактной системы зажигания двигателя мод.2106
Схема контактной системы зажигания двигателя мод.2106
1 – выключатель зажигания;
2 – блок предохранителей и реле;
3 – блок управления ЭПХХ;
4 – генератор;
5 – электромагнитный клапан;
6 – мик ...
Снятие, установка и регулировка капота
ОБЩИЕ СВЕДЕНИЯ
При съеме капота воспользуйтесь услугами помощника с тем, чтобы не нанести
царапин
и вмятин на лицевые поверхности капота.
Снятие
ПОРЯДОК ВЫПОЛНЕНИЯ
1. Открыть капот.
2. От ...